Ensemble de bras pivotant avec lame

Ensemble de bras pivotant avec lame

ACCESSOIRE POUR LES CONVOYEURS

L'ensemble de bras pivotant avec lame sert à chronométrer précisément le mouvement de diversion effectué par le bras pivotant.

Ensemble de bras pivotant avec lame
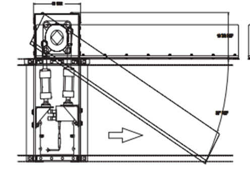
  • L'ensemble de bras pivotant avec lame sert à chronométrer précisément le mouvement de diversion effectué par le bras pivotant. Il est conçu pour être utilisé avec le convoyeur à courroie de modèle SB. Le bras pivotant est spécifiquement conçu pour détourner les bacs sur des éperons alimentés. L'ensemble dispose également d'une option de bras pivotant à surface plane pour faire une déviation des cartons.

    • Bras pivotant droit ou gauche disponible pour détourner les cartons
    • Jusqu'à 40 cartons par minute
    • Pour 30 ° ou 45 ° déviation

Besoin d'aide?

Les champs identifiés par un astérisque (*) sont obligatoires.